| 1.
INTRODUCCIÓN |
| La
problemática que comporta el estudio, clasificación y corrección
de las patologías de los edificios es muy amplia. De hecho abarca
todas y cada una de las fases de construcción, evidentemente con
desiguales repercusiones, pero no por ello carecen de importancia.
Estos
fenómenos que se producen en cuanto a las lesiones, podrían
ser paliados de existir serios controles en las fases que intervienen
en la ejecución de una obra.
Los posibles problemas pueden y de hecho deben ser controlados desde el
propio proyecto, abarcando posteriormente a la misma construcción,
al uso que más tarde se haga de ella, etc. En definitiva, un buen
programa de control de calidad implica en la mayoría de los casos
una de las máximas garantías para evitar gran parte de las
patologías que hoy se observan en las construcciones. Es por ello
que no consideramos exagerado determinar que el primer paso para un mejor
hacer constructivo implica forzosamente la mayor concienciación
entre todos los profesionales que intervienen en dicha propuesta de elaboración
y ejecución.
Todas
las reseñas que se expondrán a continuación, parten
del daño ya materializado y las posibles causas por las cuales
se ha podido producir, centrándonos básicamente en aquellos
que, en un principio, pueden derivar con más facilidad en catástrofe,
es decir, las patologías detectadas en los elementos estructurales.
A pesar de ello el tema sigue siendo muy amplio, ya que éstos
pueden producirse por causas tales como: fallos en el propio terreno
donde se asientan, en el cimiento, en pilares, muros, forjados... Todo
ello, dando por sentado que no existan errores en la concepción
del proyecto y que se haya realizado un buen mantenimiento y conservación
de la obra ejecutada.
|
Grietas
producidas por asentamientos del edificio y movimientos estructurales.
Estas grietas, con la
colaboración de los agentes atmosféricos, pueden
llegar a crear una verdadera patología que pone en
peligro la estabilidad del edificio |
Las
patologías suelen ir íntimamente unidas al tipo de elementos
estructurales diseñados; así, las estructuras de fábrica,
las de hormigón armado o las metálicas, se comportarán
de forma distinta delante de unas determinadas solicitaciones. A pesar
de que un grupo de patologías pueden llegar a ser comunes a diversas
soluciones, su tratamiento puede ser
distinto.
|
| |
| |
| 2.
ESTUDIO DE LAS FISURAS EN MUROS DE FÁBRICA |
| Los
trabajos de análisis de fisuras requieren una forma ordenada en
las tomas de datos: indicando de manera rigurosa todas y cada una de las
anomalías que se determinen por medios visuales o por medios más
tecnológicos, y permitiendo estudiar su continuidad, situación
y tipología. Para tal fin, estableceremos unos primeros criterios
sobre las posibles causas y cuáles pueden ser sus orígenes;
para ello desarrollaremos las distintas fases de ejecución de las
estructuras de muros de carga y sus patologías más comunes.
|
|
2.1. Análisis de las causas y origen
de las fisuras
|
Para
estudiar las posibles causas del origen de las fisuras en los muros de
carga, vamos a distinguir entre las dos fases fundamentales para llevar
a cabo una construcción:
| • |
Proyecto:
Los errores de proyecto más comunes y que suelen ir acompañados
de defectos en la ejecución, se refieren a causas debidas
fundamentalmente a insuficiencias de secciones, excesivas alturas
de los muros sin variación de secciones, deficiencias del
diseño en cuanto a solapes, inadecuados empleos de materiales,
faltas de previsión de juntas de dilatación, etc.
|
| • |
Ejecución:
En cuanto a los defectos de ejecución, se destacan los producidos
por implicación de un mal proyecto, por aplicación
de dosificaciones defectuosas, falta de trabas o continuidad en
los muros de carga, incorrecta colocación del material, etc. |
Vamos
ahora a pasar a analizar las lesiones más características
por asentamientos y fisuraciones producidas por sobrepasar las capacidades
portantes de los materiales a compresión, tracción, flexocompresión,
torsión, etc.
|
2.2. Patologías más comunes
|
2.2.1. Agotamiento de un muro ante cargas verticales
|
La mayor
deformabilidad que presenta el mortero frente a las piezas cerámicas,
produce un alargamiento del mismo en la dirección perpendicular
a la de la aplicación de la carga. Bajo cargas verticales excesivas,
los morteros resultan aplastados, someten a tracciones locales a las
piezas en dirección horizontal, y producen su fisuración
vertical.
Por lo
tanto, un muro próximo al colapso por una compresión excesiva
presenta una serie de grietas verticales que dividen progresivamente
el muro hasta convertirlo en una sucesión de pequeñas
columnas.
|
2.2.2 Asientos |
Se pueden
producir asientos diferenciales puntuales de algún pilar que
arrastre al muro en su movimiento o lo empuje en una dirección
perpendicular a su plano.
 |
Asiento puntual
del pilar |
También
puede haber asientos en los extremos de las cimentaciones corridas o
en sus puntos medios, que en cualquier caso afectarían al muro
apoyado sobre ellas.
|
| Asiento
directo de la cimentación |
Deformaciones de vigas y forjados |
|
2.2.3. Inestabilidad local de un muro producida por cargas verticales u
horizontales |
Un muro
excesivamente esbelto y cargado verticalmente puede pandear. Debido
a la deformación que se produce, aparecen grietas horizontales
en una de sus caras.
|
| Flexión
del muro debido a acciones verticales |
Ante acciones
horizontales perpendiculares a su plano, el muro puede volcar o sufrir
una rotura por flexión. En este último caso suelen aparecer
grietas o fisuras en los tendeles.
|
Acciones
horizontales que producen flexión en el muro |
Ante acciones
horizontales en su plano, el muro puede sufrir un aplastamiento local
(con la aparición de fisuras horizontales) o incluso pandear
(produciéndose fisuras verticales en una de las caras).
 |
| Aplastamiento
local del muro debido a acciones horizontales |
Flexión del muro debido a acciones horizontales |
También
puede producirse el deslizamiento de una parte del muro a lo largo de
un tendel, por un esfuerzo excesivo de corte (por ejemplo, a lo largo
de una barrera antihumedad situada en un tendel, si no existe un rozamiento
suficiente entre ésta y la fábrica).
|
Deslizamiento
por cortante |
|
|
|
| |
| 3.ESTUDIO
DE LAS FISURAS EN MUROS TERMOARCILLA |
|
3.1. Análisis previo de las características del bloque Termoarcilla
|
| Antes
de comenzar a analizar las fisuras que se producen en los muros de Termoarcilla,
vamos a recordar que el bloque Termoarcilla tienen las siguientes características:
| • |
Es
una pieza de gran formato, que hace más fácil su manejo
y colocación. El número de juntas horizontales de
mortero es menor que en el caso de un muro construido con piezas
de menores dimensiones.
|
| • |
No
necesita mortero en la junta vertical, ya que los bloques tienen
sus testas machihembradas.
|
| • |
Esta
disposición permite un ahorro de mortero considerable y unos
rendimientos mayores de obra.
|
| • |
A
su vez los muros son más rígidos, por lo que es importante
que éstos resulten cargados sometiéndolos eminentemente
a compresión y evitando la aparición de tracciones
localizadas en ciertos puntos de la fábrica. Debido a la
mayor rigidez de los muros construidos con bloque Termoarcilla,
al producirse cualquier movimiento de la fábrica pueden aparecer
fisuras. |
En
el caso de cerramientos construidos con Termoarcilla, la aparición
de fisuras tiene mayores consecuencias que en el caso de otros muros de
fábrica. Esto se debe a que los cerramientos de Termoarcilla suelen
ser de una sola hoja, y si se fisuran los muros o los revestimientos,
la impermeabilización de los mismos se va penalizada en gran medida.
Por este motivo tiene una gran importancia esta unidad en la que se recogen
una serie de aspectos orientados a la prevención de fisuras y a
la identificación eficaz de patologías de origen mecánico.
|
3.2.
Zonas más propensas a la fisuración |
| Para
prevenir las fisuras en un muro con Termoarcilla, debemos saber cuáles
son los puntos más propensos a la aparición de las mismas.
Éstos son:
| • |
Uniones
muro de carga – forjado.
|
| • |
Uniones
muro de cerramiento - forjado.
|
| • |
Dinteles.
|
| • |
Revestimientos.
|
| • |
Muros
cargados de forma distinta.
|
| • |
Espacios
entre muros y cornisas. |
|
3.2.1. Uniones muro de carga - forjado
|
Este tema
ya lo adelantábamos en el apartado 1 de la Unidad 6.
Las causas
de patología más habituales en los revestimientos de fachada
en la unión muro de carga - forjado tienen su fundamento en una
incorrecta ejecución del forjado.
Errores más frecuentes en la ejecución del forjado
Los errores
más frecuentes en la ejecución del forjado, que llevan
a la aparición de este tipo de fisuras son los siguientes:
1. Elevadas retracciones del hormigón que se utiliza en la construcción
del forjado.
La retracción
del hormigón se debe a una disminución del volumen durante
el fraguado del mismo, lo que hace que el forjado se contraiga, y tire
del muro sobre el que apoya.
Esto lleva
a un desplazamiento de la unión muro de carga – forjado
y a la aparición en la fachada de una fisura en la unión
del forjado con el muro. Las fisuras que se producen son horizontales.
El problema
se hace más patente en las esquinas, produciendo una fisura en
los dos muros que forman dicha esquina.
|
|
|
Superposición
de deformaciones en la esquina |
|
|
Cuando
el hormigón del zuncho penetra en las perforaciones de los bloques
de la última hilada del muro, aparecen grietas horizontales una
o dos hiladas por debajo del forjado. Por este motivo se recomienda
la colocación de una lámina plástica sobre los
bloques del muro de coronación, para evitar que el hormigón
del forjado penetre en las perforaciones de los bloques, originando
un puente térmico y provocando una fisura en el tendel más
débil del muro.
|
|
|
La
grieta se manifiesta en la hilada más débil |
|
|
Las retracciones
del hormigón pueden ser debidas a:
• |
elevada
relación agua : cemento.
|
| • |
incorrecto
fraguado del hormigón (riego insuficiente, puesta en obra
en tiempo seco, caluroso o ventoso, etc).
|
• |
exceso
de finos en el árido.
|
| • |
exceso
de cemento. |
2.
Insuficiente rigidez del forjado.
El forjado
debe tener el canto suficiente para soportar las cargas necesarias sin
deformarse excesivamente. Al no tener canto suficiente, se produce un
giro del forjado en el apoyo.
Medidas
para prevenir este tipo de fisuras:
| • |
Ejecutar
adecuadamente la fábrica. Para ello los tendeles deben
tener un espesor uniforme de 1 a 1,5 cm.
|
| • |
Emplear
morteros mixtos (cemento, arena, cal y agua) del tipo M10b.
|
| • |
Humedecer
los bloques antes de su colocación en la hilada.
|
| • |
Dejar
transcurrir un tiempo (dependiendo del mortero empleado) desde
la terminación del muro hasta el hormigonado del forjado,
con objeto de asegurar que los esfuerzos originados por la retracción
del hormigón no provoquen fisuración horizontal
en el muro. Hay que esperar a que las juntas horizontales del
muro de apoyo del forjado hayan endurecido y tengan suficiente
resistencia.
|
| • |
Disponer
forjados con rigidez suficiente. Se recomienda utilizar relaciones
canto/distancia entre apoyos de 1/20 en forjados continuos. Esta
relación debe aumentarse en el caso de piezas biapoyadas
y en voladizos.
|
| |
|
| |
|
Ejemplo:
|
| Si
un forjado tiene una distancia entre apoyos (luz) de
5 metros, el canto del forjado debe ser: 1/20 x 5= 0,25
m =25 cm |
|
| |
|
• |
Curar adecuadamente el hormigón de los forjados, durante
el periodo de tiempo que transcurre desde que se vierte el hormigón
hasta que endurece.
|
| • |
Construir
zunchos de hormigón armado que apoyen adecuadamente en
el muro, para evitar problemas debidos a cargas puntuales o superficies
de apoyo insuficientes.
|
| • |
Armar
adecuadamente los zunchos, colocando barras de acero longitudinales
y estribos transversales, aumentando dicho armado cuando se prevean
acciones horizontales de cierta importancia.
|
| |
|
|
|
Armadura
en los zunchos de reparto del forjado |
|
|
|
| • |
Evitar
la penetración del hormigón en las perforaciones
de los bloques bajo el forjado, interponiendo una lámina
fina de plástico que impida el paso del hormigón.
Otra opción será emplear la pieza de dintel cortada
en L, como apoyo del forjado.
|
| |
|
|
|
Evitar
el relleno de las perforaciones de los bloques con el
hormigón del forjado |
|
|
|
| • |
Ejecución
de juntas elásticas horizontales en el revestimiento. |
Para la
prevención de fisuras en los revestimientos de fachada debidas
a una mala ejecución de los forjados, se recomienda la disposición
de juntas elásticas horizontales en el revestimiento.
Tanto
si se utilizan como recubrimiento del forjado plaquetas o piezas de
dintel cortadas, la colocación de la junta elástica horizontal
en el revestimiento se realizará a la altura de la unión
del forjado con el muro inferior.
La ejecución
de estas juntas se realiza con un cordón de base, y la aplicación
de una masilla normalmente de poliuretano para el sellado.
|
|
|
Junta
elástica horizontal con el revestimiento |
|
|
|
|
|
Muro
de carga. Posición de juntas elásticas en revestimiento
de fachada |
|
|
| • |
Colocación
de mallas de fibra de vidrio embebidas en el revestimiento. |
Para la
prevención de fisuras en los revestimientos de fachada debidas
a una mala ejecución de los forjados, se colocará una
malla de refuerzo embebida en el revestimiento.
Esta solución
solo es válida para prevenir microfisuras en el revestimiento,
y solo si se coloca combinada con la junta elástica descrita
anteriormente podrá solucionar la aparición de fisuras.
| • |
Si
se dispone una junta elástica en el revestimiento, la colocación
de la malla se realizará de forma discontinua, a ambos
lados de dicha junta elástica.
|
| • |
Si
no se prevé junta elástica, esta malla será
continua.
|
| • |
Esta
malla debe cubrir al menos una hilada de bloques sobre el forjado,
y dos hiladas bajo el forjado.
|
| |
|
|
|
Solución
con mallas de refuerzo |
|
|
|
| |
|
|
|
Muro
de carga. Posición de mallas en el revestimiento
de fachada |
|
|
|
Unión
muro de carga – forjado de cubierta
En los
forjados de cubierta existen problemas específicos debidos a
movimientos de tipo térmico, por lo que además se considerarán
los siguientes aspectos:
| • |
Debe
tenerse en cuenta que debido al coeficiente de dilatación
del hormigón armado, se pueden producir movimientos de
varios milímetros entre invierno y verano, por lo que debe
aislarse suficientemente el forjado de cubierta para evitar las
consiguientes deformaciones cíclicas producidas por los
cambios de temperatura.
|
| • |
Es
conveniente evitar en cubiertas planas el empleo de colores
oscuros para reducir el calentamiento por radiación de
los elementos de cubierta.
|
| • |
También
debe favorecerse el empleo de cubiertas ventiladas o frías. |
Se recomienda
observar las disposiciones recogidas en el apartado 2 de la Unidad 8.
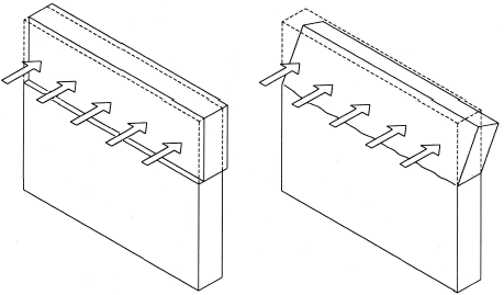
La superposición
de las deformaciones que provienen simultáneamente de dos direcciones
del forjado puede hacer que aparezcan con mayor intensidad fisuras en
las esquinas del edificio. El problema se agrava en los forjados de
última planta.
|
|
|
Superposición
de deformaciones en la esquina |
|
|
|
3.2.2. Uniones muro de cerramiento - forjado |
Cuando
el forjado de una estructura reticular entra en carga, aparecen flechas
y se producen giros en su borde que pueden afectar a los muros que están
en contacto con él, especialmente a los de fachada.
Para evitar
que la flecha del forjado provoque el aplastamiento del muro que queda
debajo o lo haga entrar en carga, simplemente basta que entre la hilada
superior del cerramiento y el forjado se deje una holgura de 2 cm que
se rellenará con un material elástico con adecuada resistencia
al fuego.
Debe limitarse
la flecha absoluta del forjado para que este problema no aparezca.
Aunque
lo indicado es limitar la flecha del forjado, también se puede
armar la fábrica en los tendeles para evitar que se desplace
cuando se quede sin apoyo por una excesiva deformación del forjado.
En los
muros interiores gruesos o con una elevada rigidez (como son los de
división entre viviendas) debe tenerse en cuenta que su peso
puede producir localmente una deformación mayor de los forjados.
En ese sentido se recomienda aumentar la rigidez del forjado en la zona,
mediante la incorporación de un zuncho de hormigón armado
o una doble vigueta.
Las formas
de evitar que aparezcan fisuras en el revestimiento del muro de cerramiento,
en la zona próxima al forjado son:
1. Ejecución de juntas elásticas horizontales en el revestimiento.
En cerramientos
de estructuras porticadas, es recomendable disponer juntas elásticas
en el revestimiento en la unión del cerramiento con el forjado,
sobre todo en el último forjado.
La posición
de la junta en el revestimiento depende de la colocación de las
plaquetas empleadas en el frente del forjado:
| • |
Plaquetas
adheridas con mortero cola al frente del forjado. En este caso,
la colocación de la junta elástica horizontal en
el revestimiento se realizará en la unión del forjado
con el muro inferior.
|
| • |
Plaquetas
simplemente apoyadas y con angular metálico para el sustento
del muro de cerramiento superior. En este caso, la colocación
de la junta elástica horizontal en el revestimiento se
realizará en el contacto del forjado con el muro superior.
La plaqueta Termoarcilla de 4,8 cm de espesor no es estable debido
a su pequeño espesor, sin embargo, la plaqueta Termoarcilla
de 9,6 cm si lo es y podrá situarse simplemente apoyada. |
La ejecución
de estas juntas se realiza con un cordón de base, y la aplicación
de una masilla normalmente de poliuretano para el sellado.
|
|
|
Muro
de cerramiento. Posición de juntas elásticas en
revestimiento de fachada |
|
|
2.
Colocación de mallas de fibra de vidrio embebidas en el revestimiento.
Esta solución
solo es válida para prevenir microfisuras en el revestimiento,
y solo si se coloca combinada con la junta elástica descrita
anteriormente podrá solucionar la aparición de fisuras.
| • |
Si
se dispone una junta elástica en el revestimiento, la
colocación de la malla se realizará de forma discontinua,
a ambos lados de la junta elástica.
|
| • |
Si
no se prevé junta elástica, esta malla será
continua.
|
| • |
Si
la junta elástica se sitúa en la unión del
forjado con el muro inferior, la malla debe cubrir al menos una
hilada de bloques sobre el forjado, y dos hiladas bajo el forjado.
|
| • |
Si
la junta elástica se sitúa en la unión del
forjado con el muro superior, la malla debe cubrir al menos dos
hiladas de bloques sobre el forjado y una hilada bajo el forjado.
|
| |
|
|
|
Muro
de cerramiento. Posición de mallas en revestimiento
de fachada |
|
|
|
|
3.2.3. En muros aparentemente descargados |
| Este
caso es muy habitual cuando se dispone una tapia en continuidad con un
muro de carga. El diferente estado de cargas que se da entre dos puntos
muy próximos del muro causa una mayor deformación en una
zona que en otra, apareciendo una fisura vertical.
En este caso, deben independizarse las dos zonas del muro por medio de
una junta de movimiento vertical.
Recordemos que la junta de movimiento permite el movimiento entre las
dos hojas.
|
|
|
|
Muros
descargados |
Solución
con junta de movimiento vertical |
| |
|
Otra opción sería el empleo de armaduras de tendel.
|
|
|
| Muros
descargados |
Solución
armando los tendeles |
|
3.2.4. En muros cargados heterogéneamente |
Cuando
existen fuertes concentraciones de carga suelen aparecer fisuras en
ciertas zonas del muro.
Algunos
ejemplos de muros sometidos a distintas cargas son:
| • |
Apoyo
de una carga concentrada en el muro.
|
| • |
Hueco
en un muro.
|
En
estos casos es conveniente reforzar la zona mediante armaduras de tendel.
|
|
|
|
Muros
cargados heterogéneamente |
Solución
armando por tendeles |
| |
|
| |
|
| Hueco
de puerta en el muro |
Solución
armando los tendeles en el dintel |
| |
|
| Hueco
de ventana en el muro |
Solución
armando los tendeles en el antepecho
y en el dintel |
| |
|
Apoyo
de una carga concentrada en el muro |
Solución
armando los tendeles |
|
3.2.5. En muros con carga continua y sección variable |
El adelgazamiento
de un muro en un mismo paño de fábrica lleva a la aparición
de una fisura vertical entre ambos.
Como norma
general, se recomienda que el espesor de los muros sea constante a lo
largo de un mismo paño.
También
puede reforzarse la zona del encuentro entre distintos espesores con
armadura de tendel, o colocar una junta de movimiento vertical en la
sección en la que se produce el cambio de espesor.
|
|
|
|
Carga
continua y sección variable |
Solución
con junta de movimiento vertical |
| |
|
|
3.2.6. En muros con carga continua, construidos con tramos de diferentes
materiales |
Podemos
construir un mismo paño de fábrica del mismo espesor, pero
con materiales diferentes. Esto llevaría a la aparición
de una fisura vertical en el contacto de ambos materiales. Para evitarlo,
situaremos juntas verticales entre tramos de muro ejecutados con diferentes
materiales. Esto es especialmente importante si las características
mecánicas de los mismos son muy diferentes.
|
|
|
|
Muros
de diferente material |
Solución
con junta de movimiento vertical |
| |
|
|
3.2.7. En dinteles |
La excesiva
flexión vertical que puede experimentar un cargadero puede originar
fisuras sobre el mismo en forma de arco de descarga. Los cargaderos,
como cualquier elemento sometido a flexión que soporte elementos
de fábrica, debe tener una rigidez adecuada, debiendo disponerse
un canto suficiente en relación a la longitud de la pieza.
Otra causa
de aparición de fisuras radica en una inadecuada disposición
de los apoyos de los cargaderos. Una zona de entrega insuficiente provoca
concentraciones de tensiones excesivas en los bordes del machón.
Se seguirán
las recomendaciones indicadas en el apartado 3.3. de la Unidad 5.
Todas
las zonas en las que puedan darse concentraciones de carga o en las
que puedan aparecer localmente tracciones (apoyos de dinteles, machones,
zonas del muro que descansan sobre los cargaderos, etc.) pueden reforzarse
empleando armaduras de tendel.
|
|
|
|
Dintel
insuficiente |
Dintel
insuficiente |
|
|
|
|
Solución
con dintel correcto |
Solución
con dintel correcto |
| |
|
|
3.2.8. Entre muros y cornisas
|
En edificaciones
contiguas con distintas alturas aparecen a menudo elementos de cornisa
que, rematando partes del muro o del edificio más bajas, penetran
en el edificio. Los movimientos de tipo térmico de dicho elemento
de cornisa traen consigo la aparición de fisuras en las zonas
de contacto entre cornisa y muro.
En este
caso debe disponerse una junta elástica sellada.
|
3.2.9. Por deformaciones de tipo térmico
|
Una inadecuada
distancia entre juntas de dilatación puede causar roturas en
las esquinas de dos muros, sobre todo si éstos tienen diferente
rigidez. También es muy común la aparición de este
tipo de fisuras en nichos o quiebros practicados en el muro.
La inclusión
de elementos metálicos en muros y tapias (rejas, vallas, pasamanos,
etc.), produce a menudo el desplazamiento de sus zonas de anclaje, con
la correspondiente rotura del muro. Esto es debido al elevado coeficiente
de dilatación de los metales, cuyo valor puede ser dos o tres
veces superior al de la cerámica.
Se proponen
como soluciones más comunes a estos problemas las siguientes:
| • |
Disponer
juntas a una distancia adecuada entre juntas, recomendándose
los valores recogidos en el apartado 5.5.5.
|
| • |
En
muros de trazado curvo, esta distancia debe incluso disminuirse.
|
| • |
En
muros en los que aparecen nichos, quiebros o retranqueos en el
plano de fachada debe tenerse especial atención a los efectos
de tipo térmico, colocando un número de juntas suficiente.
|
| • |
No
deben fijarse elementos metálicos a muros o tapias si no
tienen posibilidad de dilatar libremente. |
|
|
|
Deformaciones
térmicas de elementos metálicos |
|
|
|
| |
|
| EJERCICIOS |
| |
1. |
La
fijación de elementos metálicos (rejas, vallas o pasamanos)
a muros o tapias:
|
| |
a)
Favorece la resistencia del muro y reduce la dilatación térmica
por lo que permiten
aumentar la separación entre juntas de movimiento.
b) Podrá realizarse en todos los casos.
c) Sólo se podrá realizar si estos elementos tienen posibilidad
de dilatar libremente. |
| |
|
2. |
El
exceso de cemento en un mortero implica: |
|
a) Mayor riesgo de fisuración por falta de adherencia.
b) Mayor riesgo de fisuración por retracciones de fraguado.
c) Mayor riesgo de fisuración por baja succión.
|
| |
|
3. |
¿Por
qué está limitado superiormente el espesor de la junta horizontal
de mortero? |
|
a) Porque al aumentar el espesor disminuye la resistencia a compresión.
b) Porque no quedaría estética una junta de gran espesor.
c) Porque al aumentar el espesor de la junta aumenta la resistencia a
flexión.
|
| |
|
4. |
En
general, de cara al comportamiento de los muros de carga con bloque Termoarcilla,
es preferible que soporten forjados de hormigón: |
|
a) Rígidos.
b) Poco rígidos.
c) La rigidez del forjado es indiferente.
|
|
|
5. |
El
tiempo mínimo necesario desde la terminación del muro hasta
el hormigonado del forjado superior es de: |
| |
a) 3 a 7 días (depende del mortero empleado).
b) 2 días.
c) 14 días.
|
| |
|
| 6. |
¿Dónde
se producen con mayor frecuencia las fisuras horizontales en la unión
muroforjado?
|
|
a)
En el forjado de primera planta.
b) En el forjado de última planta.
c) En todos los forjados por igual. |
| |
|
7. |
¿Cuáles
son las medidas a adoptar en el revestimiento para evitar la aparición
de fisuras horizontales en la unión muro-forjado? |
|
a) Situar mallas de fibra de vidrio y juntas elásticas.
b) Emplear un revestimiento tradicional de mortero.
c) Emplear armadura en el tendel.
|
| |
|
8. |
De
las medidas a adoptar en el revestimiento para prevenir la aparición
de fisuras en la unión muro-forjado, ¿cuál no es
válida si no se emplea combinada con otras actuaciones? |
|
a) Empleo de armadura en el tendel.
b) Empleo de juntas elásticas.
c) Empleo de mallas de fibra de vidrio.
|
| |
|
9. |
¿Cuál
es la solución más acertada para evitar posibles fisuras
en un muro sometido a cargas puntuales? |
| |
a) Empleo de juntas elásticas en el revestimiento.
b) Empleo de armadura en los tendeles sobre los que se aplica la carga.
c) Empleo de mellas de fibra de vidrio en el revestimiento.
|
| |
|
10. |
En
un muro de cerramiento, si empleamos en el frente del forjado plaquetas
adheridas con mortero cola en capa gruesa, la junta elástica en
el revestimiento para evitar fisuras horizontales, la situaremos en el
contacto del forjado con el muro... |
|
a) Superior.
b) Inferior.
c) Superior e inferior.
|
|
|
11. |
En
un muro de cerramiento, si empleamos en el frente del forjado plaquetas
simplemente apoyadas, la junta elástica en el revestimiento para
evitar fisuras horizontales, la situaremos en el contacto del forjado
con el muro... |
|
a) Superior.
b) Inferior.
c) Superior e inferior.
|
|
|
12. |
Cuando
en el revestimiento se vaya a situar una junta elástica, y además
malla de fibra de vidrio, ésta se dispondrá: |
| |
a) De forma continua, pasando a través de la junta elástica.
b) De forma discontinua, a cada lado de la junta elástica.
c) No será posible combinar el empleo de mallas y juntas elásticas
en el revestimiento.
|
| |
| |
| SOLUCIONES |